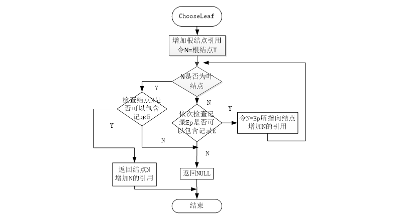
在SQLite中,插入主要涉及到以下几个函数: 函数ChooseLeaf 用来定位插入记录的叶结点
static int ChooseLeaf(
Rtree *pRtree,
RtreeCell *pCell, /* 需要定位的记录 */
int iHeight, /* 子树高度*/
RtreeNode **ppLeaf /* 返回结点指针 */
)
函数rtreeInsertCell用来插入记录
static int rtreeInsertCell(
Rtree *pRtree,
RtreeNode *pNode, /*记录插入的结点*/
RtreeCell *pCell, /*待插入的记录*/
int iHeight
)
函数nodeInsertCell被rtreeInsertCell调用
static int
nodeInsertCell(
Rtree *pRtree,
RtreeNode *pNode,
RtreeCell *pCell
)
函数AdjustTree用来调整树结构
static int AdjustTree(
Rtree *pRtree,
RtreeNode *pNode, /* 需要调整的结点 */
RtreeCell *pCell /* 刚插入的单元*/
)
